Status
Started by @rajesh994 and @rpapa.
Finished on 04/09/17 by @rpapa. His project you can find here.
Description:
Overview
Cross-ventilation is an important ventilation method since it can provide a fast and effective way to remove large amounts of pollutants and to quickly release internal heat from a building or other enclosure (i.e. ventilative cooling). For detailed analysis of natural ventilation in general, and cross-ventilation in particular, researchers are resorting more and more to the use of computational fluid dynamics (CFD) [1]. Accurate and reliable computational fluid dynamics (CFD) simulations are essential for the assessment of cross-ventilation of buildings. To determine which CFD models are most suitable, validation studies are required [1].
Input Data
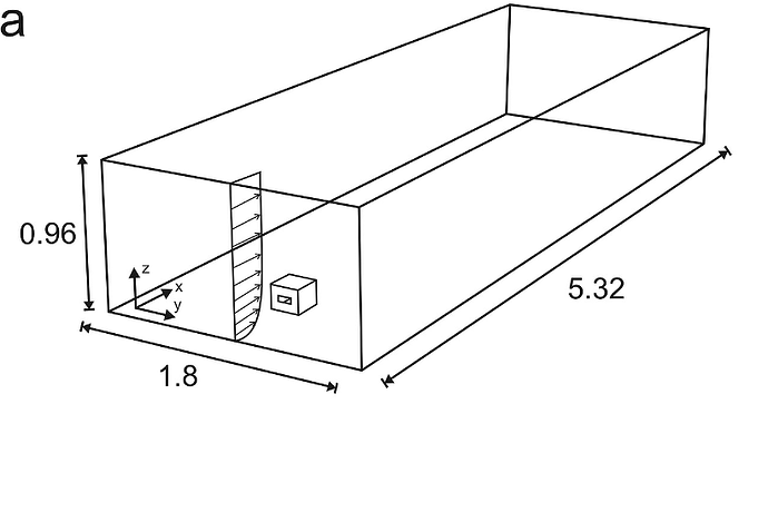
Fig.1 Building geometry. (a) Front view. (b) Vertical cross-section. Dimensions in m [1].
Fig.2 Computational domain [1].
U_H is the velocity at building height. Other parameters can be found in attached paper [1].
Purpose
The purpose of the project is to validate the accuracy of solvers for ventilation applications. The velocity profiles are to be compare to the proposed results. Additionally the dimensionless velocity is to be compared at different planes.
Fig.3 Velocity plot at mid plane of the building [1].
Fig.4 Comparison of dimensionless mean x-velocity (UX/UH) obtained with LES (dashed line), and SST k-ω model (solid line), and with wind-tunnel measurements (◆), along seven vertical lines inside the building in the vertical center plane (y/W = 0). (a) x/D = 0.125; (b) x/D = 0.25; (c) x/D = 0.375; (d) x/D = 0.5; (e) x/D = 0.625; (f) x/D = 0.75; (g) x/D = 0.875.
Key Words
Natural cross-ventilation flow, Computational Fluid Dynamics, CFD, Building aerodynamics, Turbulence model validation
Literature & Sources
[1] T. van Hooff, B. Blocken, Y. Tominaga, On the accuracy of CFD simulations of cross-ventilation flows for a generic isolated building: Comparison of RANS, LES and experiments, Building and Environment, Volume 114, March 2017, Pages 148-165, ISSN 0360-1323, Redirecting.
(On the accuracy of CFD simulations of cross-ventilation flows for a generic isolated building: Comparison of RANS, LES and experiments - ScienceDirect)



